Technology
How Electrostatic Earspeakers Work
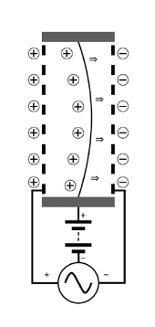
The electrostatic transducer adopted in the STAX earspeakers consists of two parallel-arranged fixed electrodes and several microns thick (less than 2 microns) high-polymer film diaphragm sandwiched and suspended in the middle of the electrodes. The low-mass film diaphragm is supplied with the biasing voltage from the energizing adaptors or from the driver unit.

When the fluctuating voltage of the audio signal is applied to the electrodes, the diaphragm is pulled by the electrode which has the opposite charge of the diaphragm and simultaneously pushed by the other electrode which then has the like charge of the diaphragm.

The continuous flow of alternating voltage in interpretation of audio signals causes the diaphragm to vibrate in faithful compliance with the amplifier output without lag, assuring undistorted sound waves. This is why the STAX electrostatic earspeakers sound so good.
Electrostatic, as described above has many quality advantage, but can not be used directly with a convential headphone jack and requires an electrostatic driver (amplifier) unit.
The vibrating diaphragm requires "Bias" voltage of 580V (almost no current). Relatively high signal voltage to the fixed pole (up to 300-600V) must be supplied as push-pull, a rather special electrical signal. STAX Driver unit are series of dedicated amplifiers strictly for STAX headphones.
Why call it "Earspeaker"?
STAX prefers to call its headphones “EARSPEAKERS”; such Ultra-High Fidelity devices for reproducing music can only be compared with the best loudspeakers, not other headphones. The term ”EARSPEAKER” is therefore more descriptive of STAX’s contribution to today’s most advanced level of sonic transduction.
